Google lavora ai Google Glass 2

0
Google Glass

I Google Glass sono stati dei dispositivi curiosi lanciati nel corso degli scorsi anni e distribuiti praticamente con il contagocce. Si tratta di occhiali futuristici, se così vogliamo definirli, che permettono di interagire con il nostro device.

Sono dispositivi che vanno indossati come dei veri e propri occhiali, possono inoltre funzionare anche senza l’ausilio dello smartphone ed eseguire le funzioni più semplici autonomamente, tra cui anche scattare foto e registrare video.

Google Glass

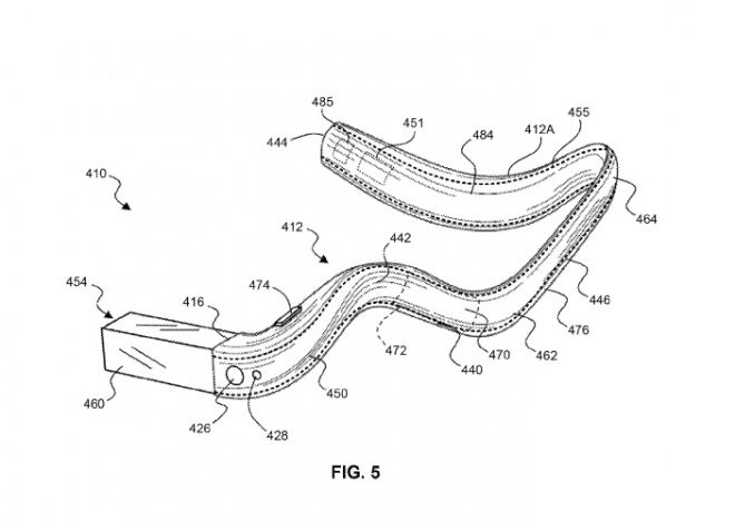
A quanto pare, nonostante la non grandissima diffusione degli occhiali, ai piani alti di Google si pensa al futuro, di fatti sono in lavorazione i nuovi Google Glass di cui è emersa anche una prima immagine relativa ad un brevetto. Dalla prima descrizione emersa dal brevetto si legge come questa nuova versione del prodotto sia totalmente flessibile per garantire il massimo comfort.

LEAVE A REPLY

Please enter your comment!
Please enter your name here