Come tutte le maggior aziende internazionali di elettronica Apple non smette mai di lavorare. Dopo il successo di iPhone 6S ed iPhone 6S Plus Apple ha lanciato lo scorso novembre anche iPad Pro, attualmente quindi si pensa al futuro. Proprio guardando al futuro Apple potrebbe essere interessata a creare un dispositivo per la realtà virtuale (VR).
Apple a lavoro su un dispositivo per la realtà virtuale?
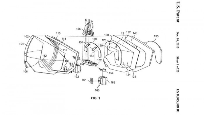
Secondo le prime indiscrezioni pare di si. Nel lontano 2013 infatti Apple ha depositato diversi brevetti riguardo questo nuovo dispositivo VR proprio incentrato sulal realtà virtuale, una sorta di prodotto ispirato al Samsung Gear VR tanto per essere chiari, visto anche che questi dispositivi ormai stanno prendendo sempre più piede sul mercato.
In affermazione di ciò Apple ha anche assunto il ricercatore Doug Bowman che si occupa del settore VR da tantissimo tempo. Inoltre, proprio durante la recente conference call Tim Cook, CEO di Apple, ha dichiarato che la tecnologia VR è ancora acerba, ma ci sono ampie possibilità di applicazione per questa tecnologia. Una mezza conferma?
































