Samsung è una delle prime società leader nel capo della telefonia mobile ad aver preso a cuore il reparto fitness e salute. Il primo chiaro esempio dell’interesse di Samsung per l’attività sportiva ed il benessere della persona è la realizzazione di dispositivi come il Gear Fit totalmente incentrati sulle attività fitnes. Questi dispositivi, come anche i device più recenti, presentano anche un sensore per la scansione del battito cardiaco.
Dopo il cardiofrequenzimetro anche un sensore per la scansione delle vene da parte di Samsung
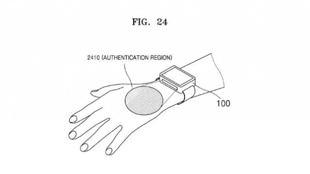
Samsung grazie ai suoi ultimi device, smartphone e smartwatch, tiene costantemente sotto controllo il nostro battito cardiaco, il numero di calorie bruciate e km percorsi. Tutti questi dati vengono raccolti in una apposita suite (S Healt) che salva tutti i dati per l’utente. Un recente brevetto però potrebbe aver svelato l’intenzione di Samsung nel realizzare un sensore per la scansione delle vene.
Praticamente lo smartwatch attraverso una sorta di luce laser posta sul lato sarebbe in grado di mappare le vene del proprietario in modo da sbloccare quando richiesto i dispositivi senza l’ausilio di password o altro. Non sappiamo se il brevetto verrà mai sfruttato o meno, tuttavia a primo impatto ci sembra un po’ una assurdità, visto che spostando lo smartwatch o il dispositivo il riconoscimento potrebbe benissimo fallire.
































